电机用端盖式球面滑动轴承防负压结构的改进
发布时间:2013-08-20 浏览次数:707
熊世煊
四通(江西)电机有限责任公司,330002
摘 要:对电机运行时,由于风路的原因在端盖式球面滑动轴承处产生负压,而引起其内部润滑油出现泄漏现象进行分析,并从轴承结构上提出改进措施。
关键词:同步发电机;端盖式;轴承;负压;改进
1 故障现象
2000年,我公司设计制造的无刷三相同步发电机(以下简称发电机)TFW500-3-14 1000kW 400V(见图1),在配套投入运行一年后的例行检修中,发现非轴伸端定子线圈端部覆盖一层薄油膜,长期如此将破坏线圈端部的绝缘层,甚至引起定子线圈“放炮”,严重影响发电机的安全运行。

1.励磁机;2.DQ22-225BJ轴承;3.百叶窗;4.同步发电机;5.离心式风扇;6.百叶窗;7.发电机旋转方向
图1 TFW500-3-14 1000kW 400V发电机结构简图
2 原因分析
现场情况介绍:发电机为单支承形式,在非轴伸端采用DQ22-225BJ端盖式球面滑动轴承(以下简称DQ轴承,如图2),自循环油环供油润滑方式,轴瓦运行Z高温度为56.8℃(现场环境温度为32.2℃)。经检查,轴承座和轴瓦的分半接合面均平直吻合,任何一处都没有大于0.05mm,符合标准要求;轴承座的分半面上无积油、四周侧壁无流油;但气封处主轴上有爬油现象,这说明油是通过气封与发电机主轴配合之间的间隙,从DQ轴承出来的。

1.外轴承端盖;2.浮动密封圈;3.透气窗;4.轴承座;5.浮动密封圈;6.气封;7.空腔一;8.补气管
图2 DQ22-225BJ 轴承结构简图
该发电机冷却方式为轴向通风,采用抽风强劲的离心式风扇,在轴伸端和非轴伸端的机身两侧壁以及发电机两端盖上都装有百叶窗,风路(见图1箭头方向)为从非轴伸端装设的百叶窗进风,从轴伸端装设的百叶窗出风。由于气封与发电机主轴配合之间有间隙,由此风路可以看出,DQ轴承内部与发电机内部空气之间将形成压力差,DQ轴承内部空气压力大,发电机非轴伸端内部空气压力小,由此产生通常所说的“负压”,即“一次负压”。在压力差的作用下,轴承座与气封之间的空腔(以下简称空腔一)中的空气被吸入发电机内部。
DQ轴承为此采取了防负压漏油的措施:在气封上装设与外界连通的补气管,从外界吸进空气,补充空腔一损失的空气,平衡空腔一与轴承内腔空气压力,但其空气压力并不能真正完全达到平衡,通过装在轴承座中的浮动密封圈与主轴配合之间的间隙,DQ轴承内腔与空腔一将形成“二次负压”。
这样,DQ轴承内腔中的油及油雾被吸入空腔一,再通过空腔一被吸入发电机内部,受发电机转子离心力的作用,绝大部分油和油雾甩向非轴伸端定子线圈端部,经过发电机长时间的运行,日积月累在定子线圈端部形成一层油膜。
3 解决方法
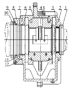
为了解决上述问题,改进了DQ轴承的结构,图3为新设计的DQ非标准轴承典型防负压结构简图,增加了外密封盖、转环、内密封盖,在气封与主轴配合处增设耐油耐磨密封圆条。

1.外密封盖;2.外轴承端盖;3.浮动密封圈;4.透气窗;5.轴承座;6.浮动密封圈;7.转环;8.气封;9.密封圆条;10.内密封盖;11.空腔一;12.补气管
图3 DQ非标准轴承典型防负压结构简图
密封工作原理:发电机正常工作时,气封的密封圆条和主轴上的内密封盖,阻断了大量空气,由内腔一被吸入发电机内部的通道,大大减弱了“一次负压”所产生的影响;转环热套在主轴上,通过其离心力的作用,阻隔“二次负压”所产生的影响,防止DQ轴承内腔的油及油雾被吸出。同理,主轴上的外密封盖阻断了大量油及油雾,被吸入励磁机内部的通道。这些措施,从根本上防止了DQ轴承漏油现象的发生。
DQ轴承改造后,发电机现场运行24小时,轴上无爬油现象,轴承结构改造成功。该发电机经过4年多的运行,再未发生轴承漏油现象。同时,在设计发电机新产品过程中,如TFW 790-8-102100kW 10.5kV、TFW900-4-12 1250kW 10.5kV等,以及设计径向通风冷却方式的大型三相异步电动机,如YRKK900-8 2500kW 10kV等,采用改造后的DQ非标准轴承,均未发生轴承漏油现象。
4 其它原因漏油分析
在采取防止DQ轴承负压作用漏油措施的同时,还应注意其它漏油原因:保证透气窗的畅通,改善轴承工作时轴瓦的散热,使轴承室内油气正压漏油。
提高轴承座分半接合面的配合质量,必要时通过刮研分半面使0.03mm的塞尺不得插入壁厚度的1/3,且装配时分半面上均匀、连续地涂铁锚牌601密封胶密封。
与油池相同的所有螺纹连续处均用生料带密封,法兰平面用耐油橡胶垫密封。检查浮动密封圈太过是否松动,耐油耐磨密封圆条是否有断裂,而造成密封失效。核对油环供油时油位是否过高,复合供油时,润滑油流量是否过大。
5 结束语
通过对DQ轴承改造前后实际运用效果的比较,我们不难得出这样的结论,DQ非标准轴承的防负压漏油结构,设计合理、结构紧凑、运行稳定性高。
参考文献
1.某发电厂运行使用检测报告.2000.
2.JB/T5888《电机用DQ系列滑动轴承结构与尺寸》.国家标准出版社.
3.JB/T5888.1《电机用DQ系列端盖式滑动轴承技术条件》.国家标准出版社.
2005年第1 期《电机技术》