询盘留言
首页
关于我们
企业介绍
企业风采
企业理念
生产流程
销售网络
质量检测
产品选型
微型轴承
不锈钢轴承
陶瓷轴承
深沟球轴承
薄壁轴承
滚针轴承
外球面轴承
角接触轴承
关节轴承
直线轴承
非标定制轴承
热门轴承
资格认证
最新资讯
企业新闻
行业新闻
轴承知识
技术支持
解决方案
汽车轴承
牙钻轴承
仪表轴承
电机轴承
气枪轴承
溜溜球轴承
滑板和滑冰鞋
自行车轴承
渔具轴承
水泵轴承
齿轮箱轴承
纺织轴承
发电机轴承
烘烤业轴承
食品机械轴承
空调轴承
人力资源
联系我们
最新资讯
企业新闻
行业新闻
轴承知识
联系方式
上海堃旌轴承有限公司
电 话:15618632192
邮 箱:sales@kunjingbearing.com
地 址:上海市松江区连富路388号
首页
>
轴承知识
拔轴承器
发布时间:2013-08-01 浏览次数:743
常宁
(西安彩色显像管厂)
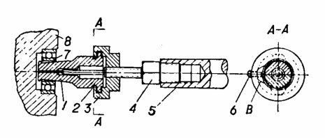
修理机械时,常会由于滚动轴承的外圈(或轴套)与箱体等零件配合比较紧(见附图中7和8),以致无法拆下轴承。针对这些问题,我们做了一套拔轴承器,解决了这一修理困难,现介绍如下:拔轴承器的结构如附图,它由两个半圆爪、调节螺母、钢丝环、冲拉器和固定螺钉等组成。使用时,先把两个半圆爪并拢并插进轴承内圈,然后一手握住调节螺母3,另一手旋转冲拉器5,则调节螺钉4向左移动,使其尖部顶开两个并在一起的半圆爪。当两个半圆爪张到Z大时,就可把轴承拉出来。由于钢丝环的收缩作用,可使两个半圆爪自动合并。
1.半圆爪(两个);2.钢丝环;3.调节螺母(滚花);4.调节螺钉;5.冲拉器;6.固定螺钉;7.待拆的滚动轴承;8.箱体;B为缺口(装配工艺口)
来源:《机械制造》1983年05期
服务热线:15618632192 / 15618783363
产品导航
微型轴承
深沟球轴承
陶瓷轴承
不锈钢轴承
热门轴承
非标定制轴承
联系方式
电话: 15618632192
企业邮箱: sales@kunjingbearing.com
地址: 上海市松江区连富路388号
站点地图
关于我们
产品选型
最新资讯
技术支持
解决方案
人力资源
移动平台
版权所有 © 上海堃旌轴承有限公司
ICP备:沪ICP备18003889号
返回顶部
15618632192
微信询价