最新资讯
联系方式

C0240型自动倒角机

发布时间:2013-07-15 浏览次数:618

(洛阳轴承厂)
  我厂车削车间广大革命职工,高举毛泽东思想伟大红旗,坚决贯彻执行《鞍铜宪法》,狠批了“专家治厂”、“洋奴哲学”、“爬行主义”等反革命修正主义黑货,开展了群众性的技术革新和技术革命活动,组成了由车间革新组参加、以老工人为主体的“三结合”攻关小组。大家树雄心,立壮志,发扬了敢想、敢干、敢闯,“一不怕苦,二不怕死”的革命精神,自己设计制造自动倒角机,于一九七0年四月开始试车,到六月份正式投产。
  
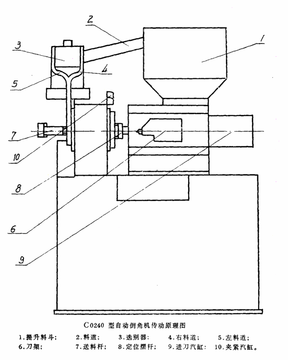
一、原理
  C0240自动倒角机的运动循环,由电
磁铁控制换向汽阀改变汽缸的前进、后退方向而达到。适合车削直径Ø40毫米以下的轴承套圈的倒角。其工作顺序:将工件倒入提升料斗1内,提升器即将工件提升送到料道2,工件顺料道滚入选别器3进行分料比较,使已加工倒角的面从右料道4出来,未加工倒角之面从左料道5出,从而使每个工件之未加工一面都朝刀架6方向滚入到主轴后端孔处。而送料杆7,定位摆杆8和刀架6的动作均由一进刀汽缸9控制,即汽缸往后拉时,刀架退,送料杆进,定位摆杆上摆,待将工件推出主轴前端定位摆杆已将工件顶住,此时夹紧汽缸10动作将工件夹紧,汽缸换向进刀,即刀架前进,送料杆退,定位摆杆下摆,切削完成后则反向动作进行下一循环。
  二、特点
  C0240
倒角机结构简单,动作灵便,体积小,效率高,易调整,故障少。机械动作可分提升,分料(选基准面)、倒角。全部自动。每分钟可加工40-50件小型轴承套圈,大大减轻了劳动强度,很受操作工人欢迎。
来源:《轴承》1972年01期
服务热线:15618632192 / 15618783363
版权所有 © 上海堃旌轴承有限公司      ICP备:沪ICP备18003889号