3MZ3310D内滚道油石超精机的改进
发布时间:2013-06-03 浏览次数:657
马玉萍
(海林中科科技股份有限公司,甘肃,天水 741018)
摘 要:针对内滚道油石超精后内径严重划伤问题,对内圈油石超精机进行工装改进,不仅消除了内径划伤也改善了轴承零件的圆度、波纹度,从而提高了轴承零件的外观质量,降低了振动值和噪声。
关键词:滚动轴承;内圈;超精机;内径
目前,大部分机床厂生产的内滚道油石超精机都是靠基准端面和内支承定位,压轮压紧非基准端面来超精轴承的工作表面。虽然轴承滚道表面粗糙度值Ra有所减小,但轴承内径却有不同程度的划伤,严重地影响了轴承的外观。这是轴承行业油石超精机长期没有解决的问题,也是高劳动强度的砂布超精机不能被彻底淘汰,而油石超精机不能普及的原因之一。为此对3MZ3310D内滚道油石超精机的工装进行了分析改进。
1 存在问题
该机床采用机械压紧式固定内支承定位,套圈的压紧力是由作用在非基准端面上的两个对称放置的压轮提供,内孔由粘有陶瓷片的固定内支承定位,由驱动盘带动套圈旋转。下面是几种加工方式所造成的弊端:① 超精内滚道时,若用内外径定位,就要求内外径经过磨削,磨后的几何形状误差很难满足内滚道的高精度加工要求。②若用支滚道超滚道的支承易给滚道的Z终表面留下划伤痕迹。③再由粘有陶瓷片的固定内支承定位,这就要求驱动盘轴心线、工件轴心线和固定内支承中心线必须保持在同一中心线上,否则固定内支承的偏心会造成工件内径严重划伤。④压轮损耗过快,机床调整较复杂。
2 改进方案及效果
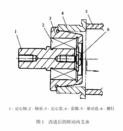
将两套压紧轮去掉,简化了工装调整。将固定内支承改为转动内支承,以带凸缘的心轴套定位,由一套球轴承带动旋转,大大简化了工装设计,如图1所示。

加工质量不受套圈径向定位表面误差的影响,套圈端面也不存在滑动摩擦,加工平稳,工件可以高速旋转,大大提高了生产效率;省去了消耗量较大的压紧轮、固定内支承及支承陶瓷片等。使定位、压紧同时进行;为解决内滚道油石超精机加工时内径划伤问题,提供了一种新的方式;机床换活调整简单,大大降低了劳动强度;使套圈的几何精度、表面粗糙度以及外观质量大为改观。
该工装使用半年以来效果很好,超精后的零件几何精度有很大改善、表面粗糙度Ra 0.08~0.12μm,尤其使圆柱滚子轴承内圈滚道的圆形偏差、波纹度得到了很大改善,从而降低了轴承的振动值和噪声 ,且内径无任何划痕或划伤。
来源:《轴承》2005年第2期