询盘留言
首页
关于我们
企业介绍
企业风采
企业理念
生产流程
销售网络
质量检测
产品选型
微型轴承
不锈钢轴承
陶瓷轴承
深沟球轴承
薄壁轴承
滚针轴承
外球面轴承
角接触轴承
关节轴承
直线轴承
非标定制轴承
热门轴承
资格认证
最新资讯
企业新闻
行业新闻
轴承知识
技术支持
解决方案
汽车轴承
牙钻轴承
仪表轴承
电机轴承
气枪轴承
溜溜球轴承
滑板和滑冰鞋
自行车轴承
渔具轴承
水泵轴承
齿轮箱轴承
纺织轴承
发电机轴承
烘烤业轴承
食品机械轴承
空调轴承
人力资源
联系我们
最新资讯
企业新闻
行业新闻
轴承知识
联系方式
上海堃旌轴承有限公司
电 话:15618632192
邮 箱:sales@kunjingbearing.com
地 址:上海市松江区连富路388号
首页
>
轴承知识
圆锥滚子轴承筐形保持架的设计改进
发布时间:2013-03-05 浏览次数:670
县鹏宇
(甘肃海林中科科技股份有限公司技术中心)
符号说明:
D
w
—滚动体大头直径
ρ
—滚子球面设计曲率
d
i
—内圈滚道直径
D
b
—保持架大头内径
D
b
’
— 保持架大头外径
D
c
—未收口时保持架大端内径
S
—保持架钢板厚度
d
db1
—保持架小端内径
l
b
—保持架窗孔长度
l
c1
—保持架窗孔大头筋宽
l
c2
—保持架小端底边至窗孔距离
l
b3
—保持架大头内侧收口斜边长度
θ
—保持架内侧角
θ
1
—保持架窗孔压坡角
γ
—保持架底部折角
α
—外圈滚道半角度
φ
—滚子半锥角
ε
△
’
max
—保持架Z大径向游动量
1、概述
冲压筐形保持架是圆锥滚子轴承保持架普遍采用的一种结构,具有结构简单的特点,被国内外轴承制造企业广泛采用,国内轴承制造企业筐形保持架的设计主要是依据《圆锥滚子轴承设计方法》ZYB9-82和ZYB9-93,虽然ZYB9-93比ZYB9-83在保持架的设计上有所改进,但主要是在一些计算系数、公式的规范和调整上,另外又增加了一些验算条件。但是随着轴承制造和应用技术水平的提高,用户对于筐形保持架的提出了更多的使用要求,需要对筐形冲压保持架作出一些改进和提高,本文主要就这方面的主要问题进行探讨。
2、保持架的设计改进措施
2.1保持架大端口部的收口设计
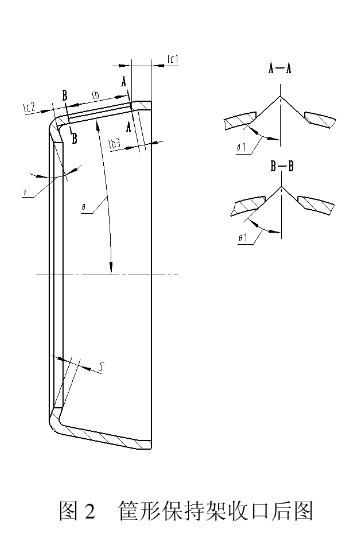
在许多使用场合,由于受主机空间结构的限制,以及密封件安装的需要,要求保持架大头的口部外径不允许超过一定的尺寸范围,在这种情况下,保持架大头的收口设计就可以解决这方面的问题(如图1所示)。
一般情况下,保持架钢板在冲压成形时,由于塑性变形的作用,余出的材料一般都堆积在了保持架大头口部外侧,造成钢板口部厚度要大于正常板厚,而且口部厚度的变化一般与材料的延伸性能有关,根据经验,一般增加的厚度为板厚的15%左右,即口部的厚度为1.15倍的板厚。同时由于钢板材料延伸性能的差异,还会在保持架大头口部形成褶皱,因此在保持架下料时,可以根据材料的延伸性能适当调整料片的尺寸,以保证成型后保持架大头筋宽度尺寸符合设计要求。
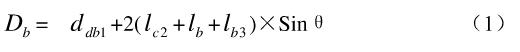
在进行收口设计时,保持架收口后的大头内径尺寸
D
b
按照下式计算:
对于有些结构的圆锥滚子轴承只控制
D
b
尺寸就可以满足安装要求,但是在有些情况下必须控制大头外径尺寸
D
b
’,保持架收口后的大头口部外径尺寸
D
b
’可按照下公式计算:
在ZYB9-93设计方法中给出了验算保持架外侧与外滚道间Z小间隙的计算公式,Z小间隙
ε
3min
计算公式如下(公式中的有关保持架尺寸见图1和图2):
在公式3基础上,可以根据保持架收口后的结构,推导出收口保持架外侧与轴承外滚道之间的Z小间隙
ε
3min
’
,计算公式如下:
保持架收口设计的优点在于可以增加保持架口部的强度,减少内组件收套装配时保持架梁的变形;特别是对于大锥角产品可以减小保持架在收套后的径向游动量,防止过度收套后梁的变形,提高内组件的旋转灵活性,降低旋转噪声;对于特轻系列产品可以防止保持架与外圈滚道的靠套,通常在一些小型号上较易发生靠套问题,问题严重的话,有可能会使保持架外径与外滚道产生磨擦,导致保持架的隔离作用丧失,使保持架撕裂,将滚子卡死。
我们根据公式3和4对特轻32000系列和大锥角31300系列的间隙做了一个计算比较,数据见下表:
通过数据对比可以看出,保持架收口后,其外径与外滚道之间的间隙有了明显的增加,减小了保持架靠套的可能性,与此同时,还可以看出保持架钢板厚度的选取合理与否也会影响到二者之间的间隙。
需要注意的是,在进行收口设计时,要特别注意保持架大头内侧斜边长度的取值,该数值的合理与否会直接影响到到保持架梁在大头收口处的质量(部位示意见图3),若该尺寸偏小,会造成收口时在保持架外侧梁和大头筋连接处产生变形,即梁的大头外侧与大头筋外侧面上的过渡圆弧产生在梁上,理想的过渡圆弧应该是避过梁后,从大头筋的外侧底部开始,对于板厚在2.0mm以下的钢板,内侧斜边的长度
l
b3
一般取到1.0mm即可,但是对于2.0mm以上的板,可以取为1.5~2mm之间,也可根据材料的延伸性能适当的取长一些。
2.2保持架底部的折角设计
随着保持架冲压技术的提高,许多国内外圆锥轴承保持架底部已普遍采用折角设计和加工,但是折角的角度值目前还没有一个统一的设计标准,我们根据冲压钢板的性能,一般将折角γ设计在10°~20°之间,经过多年的实践,证明这一设计是切实可行的。
折角设计的优点在于不但可以增加保持架的整体刚性,而且通过折角设计后,一方面可以防止内组件收套时保持架底部的凸起变形,降低了保持架与轴承外圈大端面的突出量(突出量这一指标现在已被许多主机配套企业作为一项技术指标严格控制);另一方面还可增大保持架内孔与内圈小挡边之间的间隙,防止他们之间的靠套。
2.3保持架窗口的压坡设计
在保持架的设计加工中,窗口的压坡设计也是一个非常重要的环节,因为压坡面的深浅决定着保持架梁的宽窄,同时还直接影响到保持架的旋转灵活性。
在多年的设计实践中我们一般按照设计方法将压坡角θ1(见图2)取为20°和22°30′,如果在设计中经过验算,保持架梁宽小于许用梁宽要求,可以将压坡角适当的加大,可以调整到25°,但是加大后会导致保持架窗孔变小,使保持架外移,这样又会减小保持架与外滚道之间的间隙,因此对于一些比较特殊的圆锥滚子轴承,在设计到这一步时,一定要注意这方面的问题,必须保证梁宽和Z小间隙的合理配合。如果这设计验算中,出现保持架外侧与外滚道之间间隙偏小,也可适当的将压坡角度调小,可以调到18°。
3、结束语
冲压保持架经过上述设计后,不但强度有所增加,而且在保持架的旋转灵活性也有了大幅度的提高,满足了用户的要求,目前这些改进措施已被我公司全面采用,使圆锥滚子轴承的质量有了大幅度的提高。
参考文献:
《ZYB9-87 滚动轴承设计主导文件 圆锥滚子轴承设计方法》,洛阳轴承研究所
《ZYB9-93 滚动轴承设计主导文件 圆锥滚子轴承设计方法》,洛阳轴承研究所
来源:《轴承》2010年12期
服务热线:15618632192 / 15618783363
产品导航
微型轴承
深沟球轴承
陶瓷轴承
不锈钢轴承
热门轴承
非标定制轴承
联系方式
电话: 15618632192
企业邮箱: sales@kunjingbearing.com
地址: 上海市松江区连富路388号
站点地图
关于我们
产品选型
最新资讯
技术支持
解决方案
人力资源
移动平台
版权所有 © 上海堃旌轴承有限公司
ICP备:沪ICP备18003889号
返回顶部
15618632192
微信询价