最新资讯
联系方式

调心滚子轴承保持架兜孔中心径测量仪的设计

发布时间:2012-11-13 浏览次数:1136

作者:许景芳
(豫西轴承有限责任公司)
  摘 要:提出了一种新的调心滚子轴承保持架兜孔中心径的测量方法,并设计了间接定量测量保持架兜孔中心径的辅助测量装置,并从原理上论证了这种测量方法的可行性和准确性。
  关键词:保持架;兜孔中心径;定量测量;测量仪
  1 前言
  调心滚子轴承保持架兜孔中心径加工精度高低,直接影响到成品轴承的回转灵活性,严重的将会导致轴承卡死。目前,国内轴承行业主要采用试套的方法来定性地检测轴承保持架兜孔中心径,但操作过程极为繁琐,且测量准确性难以保证。
  为了提高保持架兜孔中心径测量的准确性,需要一种能够定量的测量保持架兜孔中心径的测量方法。鉴于此,我们依据保持架兜孔中心径定量测量的测量原理,提出了一种利用辅助测量装置来间接定量测量保持架兜孔中心径的测量方法,设计了相应的辅助测量仪,并从测量原理上论证了本辅助测量仪测量方法的可行性和准确性。
  2 仪器的组成
  该仪器主要由可调测量杆、夹持测量杆、固定表架、百分表、测量柱等部分组成。可调测量杆与夹持测量杆二者采用接插方式结合,可调测量杆与夹持测量杆上均联接有测量柱,夹持测量杆的一端联接有固定表架,测量百分表联接在固定表架的下部。
  3 仪器的测量原理
  该仪器是采用比较测量法的机械式仪器,工作原理如图1所示。
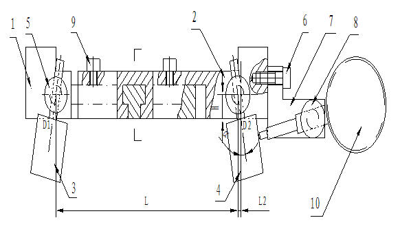
1.可调测量杆;2.夹持测量杆;3.固定测量柱;4.定位(或偏心)测量柱;5.夹紧螺钉;6.M5螺钉;7.固定表架;8.夹紧螺钉;9.M5螺钉;10.百分表
图1 中心径测量仪原理图 
  首先将固定测量柱与可调测量杆联接、定位测量柱与夹持测量杆联接,然后调整两测量杆位置将两个测量柱塞进保持架兜孔中,并与兜孔壁配合紧密。同时将两测量杆的底面与保持架的上端面贴紧,然后,用螺钉将两个测量杆相对固定,用夹紧螺钉将两个测量柱固定。调整百分表刻度为零,然后用偏心测量柱代替定位测量柱进行测量,由于偏心测量柱在保持架兜孔当中的偏移量不同(该偏移量是由于兜孔中心径的尺寸偏移造成的),百分表给出保持架中心径变化值,从而达到测量中心径的目的。
  (1)对于兜孔数为偶数的保持架,在测量时将两个测量柱安装在测量平面内与保持架中心对称的两个兜孔内,如图2所示。
图2
 
  则被测兜孔保持架中心径的实际尺寸Dcp=AB。
  (2)对于兜孔数为奇数的保持架,在测量平面内没有过保持架中心的左右对称的两个兜孔,那么先选定一个兜孔A并装上一个测量柱,在兜孔A的中心与保持架中心的连线的延长线与保持架相交且与兜孔A左右对称的位置点附近应有两个相邻的兜孔-兜孔B、兜孔C,任取其中之一,如取兜孔B,那么将另一个测量柱装入兜孔B,如图3所示。
 
图3
  兜孔B与兜孔C既相邻两兜孔之间的圆心角β=360°/n(n≥3),则γ=β/2=180°n,则Dcp=Dcp′/cos(γ/2)=Dcp′/cos(90°/n),在实际测量中为了加工测量方便,技术人员应根据产品图中标注的Dcp,用计算公式Dcp=Dcp′/cos(90°/n)推导出Dcp′= Dcp×cos(90°/n),并在工艺文件中标注,以供直接使用。
  (3)用测量仪测量中心径时,如图1所示,保持架中心径为D1D2两点距离,Dcp= L+2×L2,而L2=H×tgα,则Dcp=L+2H×tgа。由于测量仪的H值为固定值,因此,在测量时只需测量出L的尺寸既可。
  4 仪器的对表
  由于测量仪在测量时是采用了相对测量的方法,以专用标准件做为校对环规来观察被测量保持架的相对差值。测量时用同一轴承型号保持架中心径标准件调好百分表的零位,然后将测量仪的定位测量柱换成偏心测量柱。测量时调整偏心测量柱就可从百分表上读出△D0数值。
  对于标准件的选取,可以在批量测量前,对照产品图中保持架中心径的Dcp,依据公式L=Dcp-2H×tgα,计算出测量仪的L值,调好两测量杆的位置,并加以固定。然后,通过测量选取合适的保持架做为标准件,为以后的测量做为基准。
  5 结束语
  由于采用了相对测量法,对于测量过程中人为因素引起的测量误差和仪器的加工误差都可以显著减小。
  调心滚子轴承保持架兜孔中心径的定量测量的实现,不仅能有效提高保持架兜孔中心径的测量准确度,同时还可以降低检查员的劳动强度,提高工作效率。这种测量手段与试套的定性测量相比具有使用简单、测量数值稳定、测量装置制造成本低的优点,易在整个轴承行业推广。
服务热线:15618632192 / 15618783363
版权所有 © 上海堃旌轴承有限公司      ICP备:沪ICP备18003889号