询盘留言
首页
关于我们
企业介绍
企业风采
企业理念
生产流程
销售网络
质量检测
产品选型
微型轴承
不锈钢轴承
陶瓷轴承
深沟球轴承
薄壁轴承
滚针轴承
外球面轴承
角接触轴承
关节轴承
直线轴承
非标定制轴承
热门轴承
资格认证
最新资讯
企业新闻
行业新闻
轴承知识
技术支持
解决方案
汽车轴承
牙钻轴承
仪表轴承
电机轴承
气枪轴承
溜溜球轴承
滑板和滑冰鞋
自行车轴承
渔具轴承
水泵轴承
齿轮箱轴承
纺织轴承
发电机轴承
烘烤业轴承
食品机械轴承
空调轴承
人力资源
联系我们
最新资讯
企业新闻
行业新闻
轴承知识
联系方式
上海堃旌轴承有限公司
电 话:15618632192
邮 箱:sales@kunjingbearing.com
地 址:上海市松江区连富路388号
首页
>
轴承知识
引进四辊轧机辊系的改造
发布时间:2012-07-26 浏览次数:921
作者:李耕 杨舒拉 刘承山
(济南钢铁集团总公司装备部)
摘 要:对引进的四辊精轧机进行改造,采取了增大工作辊、支承辊辊径,将落后的工辊滑动轴承改造为滚动轴承,改进密封、润滑方式等方法,并对改造后的辊系进行了结构尺寸分析和强度分析。使用证明,轧机作业率提高,换辊时间缩短,轴承寿命延长,轴承精度提高,满足了单机架轧制的要求。
关键词:轧机;辊系;轴承;密封
济南钢铁集团总公司中厚板厂(简称济钢中厚板厂)3200mm轧机是从荷兰引进的二手四辊精轧机。为满足单机架轧制的生产工艺要求,于1999年10月对此轧机辊系进行了改造。
1 原轧机辊系的基本情况
该轧机原为四辊精轧机。工作辊直径为φ760~685mm,辊身长度为3200mm,工作辊与扁头采用热装过盈配合联接。工作辊轴承为剖分式合金滑动轴承,采用干油润滑加水冷却方式。支承辊直径为φ1400~1315mm,辊身长度为2900mm,支承辊轴承为四列圆锥滚子轴承。
济钢中厚板厂生产现采用单机架轧制,该轧机不能满足工艺要求,存在如下问题:
(1)工作辊辊径太小,影响了轧辊端万向接轴回转直径。传动端扁头采用热装过盈配合,限制了Z大轧制力矩,不能满足粗轧开坯要求。
(2)工作辊所用剖分式滑动轴承加工、维修困难,而人工刮研轴瓦劳动强度大,且轴承精度低、寿命短。
(3)采用干油润滑加水冷却,浪费大量润滑脂,且污染环境。
(4)原工作辊扁头滑块结构换辊困难,影响轧机作业率。
由于引进此二手轧机的同时由荷兰带回30余根可用工作辊,为充分发挥这些轧辊的作用,决定先改造轧机的主传动系统,增大主电机的功率和主传动系统的能力,待荷兰旧轧辊使用完后再做进一步改造以免浪费。
2 改造方案与实施
2.1 改造方案
(1)工作辊直径增加到φ800~725mm,轧辊端部自带扁头。
(2)工作辊轴承采用非标准四列圆柱滚子轴承加双列圆锥滚子轴承,轴承内径φ520mm。
(3)轴承密封圈选用专用防尘、防水密封圈。
(4)采用定期加润滑脂方式。
(5)将支承辊直径增加到φ1420~1315mm,增大重磨量。
2.2 改造后轧机辊系结构尺寸分析
2.2.1 辊面高度 由于辊径的增加,使辊面高度比原来上升50mm,可以通过调整垫块高度来保证原有辊面高度。
2.2.2 上(下)工作辊与支承辊中心距的合理搭配
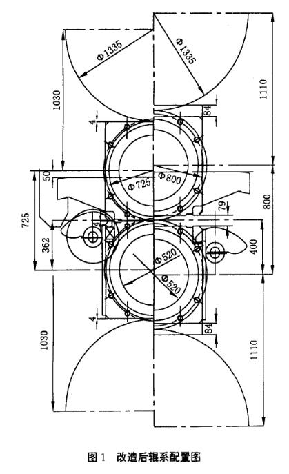
原支承辊中心到工作辊轴承座槽边为670mm,因结构限制该尺寸不能改变,所以工作辊与支撑辊Z小中心距不能小于1030mm,如图1所示。当工作辊辊径为Z小直径φ725mm时,支撑辊径应不小于φ1335mm;当支承辊辊径为Z小直径φ1315mm时,工作辊辊径应不小于φ745mm。
2.2.3 Z大开口度 当工作辊和支承辊都为Z大直径时,因辊径增大开口度减小60mm,改造后Z大开口度不小于360mm,满足工艺要求。
2.3 改造后辊系的强度分析
2.3.1 工作辊强度分析
由于支承辊承受绝大部分弯曲力矩,工作辊可只考虑扭转力矩。经分析计算当过载2.75倍时,Z大扭转剪应力发生在传动扁头处,τmax为87MPa,小于τs,满足使用要求。
2.3.2 滚动轴承受力分析及寿命计算
上工作辊轴承垂直方向受1.3倍平衡力作用,水平方向承受轴承反力,每只轴承所受径向合力为750.5kN,按此载荷计算所选轴承寿命大于10000h,可以满足使用要求。
2.3.3 工作辊轴承座强度分析
经计算,上工作辊轴承座吊耳根部所受Z大弯曲应力σmax为60.76MPa,轴承座材料选用45钢正火,其σs为355MPa,强度满足要求。
2.4 改造实施过程
改造是在济钢中厚板厂正常生产的情况下进行的。根据改造前的旧轧辊使用情况,提前将新辊系全部制造组装完成,并对相关的装置与新辊系配套完成。利用3天检修时间拆除旧辊系,更换新辊系,并一次试车成功,顺利投产。Z大限度地减少了旧轧辊的浪费,减少了作业时间,没有因辊系改造而影响正常生产。
3 改造后使用效果
3200mm轧机辊系改造后,经过一年的生产实践证明,改造后的轧机辊系有以下优点:
(1)提高了轧机的轧制力矩。改造前曾发生十余次热装扁头转动及扁头扭断事故,改造后彻底解决了这一问题。
(2)节省了大量的换辊时间。由于新辊系结构型式的改造使每次换辊时间比原来缩短了近1h,轧机作业率提高了2%~3%。
(3)提高了轴承精度,有利于提高板材质量。
(4)轴承寿命长。改造后的工作辊轴承经过一年半的使用未发生一次损坏,轴承寿命是原来的2倍以上,克服了滑动轴承加工维修困难的缺点。
(5)节省了润滑脂,减少了污染。
来源:《山东冶金》 2001年02期
服务热线:15618632192 / 15618783363
产品导航
微型轴承
深沟球轴承
陶瓷轴承
不锈钢轴承
热门轴承
非标定制轴承
联系方式
电话: 15618632192
企业邮箱: sales@kunjingbearing.com
地址: 上海市松江区连富路388号
站点地图
关于我们
产品选型
最新资讯
技术支持
解决方案
人力资源
移动平台
版权所有 © 上海堃旌轴承有限公司
ICP备:沪ICP备18003889号
返回顶部
15618632192
微信询价