最新资讯
联系方式

安阳发电厂300MW新机组试运行初期锅炉设备故障浅析

发布时间:2012-07-10 浏览次数:713

作者:陈予辉
(刘国强安阳电厂)
  摘 要:安阳电厂新机组试运初期锅炉设备出现了3起故障,本文对在故障处理过程中暴露出的安装人员素质问题、临时工管理问题、设备质量问题、技术资料短缺问题、企业管理问题作了分析总结。
  关键词;机组试运;故障;分析
  0 前言
  安阳电厂八期改扩建工程规模为2×300MW。锅炉为东方锅炉厂DG1025/18.2-Ⅱ4型亚临界参数自然循环汽包炉。1997年11月12日开始第1台机组整体启动试运行。从机组分部试运到准备168h试运这一时期,锅炉设备先后出现了A侧引风机轴承频繁发热、水冷壁3次爆管、煤粉管道伸缩节失灵3种设备故障。引起这些故障的原因既常见,又各有特点。在处理过程中,由于未能及时找出 故障原因,致使相同故障频繁发生,不仅浪费了大量人力物力,而且增加了机组调试难度。为吸取本次故障处理的经验教训以及更有利于其它新机组的调试工作,本文为此作了分析、总结。
  1 A侧引风机轴承频繁发热故障
  1.1引风机简介
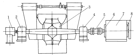
  引风机为Y4-2×73-3No29F型双侧进气、双支撑结构离心式风机,采用12个空翼形叶片,支撑和支推滚动轴承采用瑞典SKF公司的22352CC/W33轴承。引风机配套电动机为DKK1000-2-8/10型三相鼠笼式双速异步电动机,为卧式端盖式轴承的箱体结构,轴承采用乌金瓦滑动轴承,采用油环自润滑方式。引风机整体结构布置见图1。
图1 Y4-2×73-3No29F型引风机布置图
 1.盘车装置;2.支撑轴承;3.引风机链子;4.支推轴承;5.钢挠性联轴器;6.后轴瓦;7.电动机;8.前轴瓦
 
  1.2轴承频繁发热的处理过程
  从1997年7月21日处理电动机后轴瓦发热开始到1997年11月21日消除引风机支撑轴承发热结束,断断续续处理轴承发热,时间长达122d。其处理过程如下:
  电动机安装就位后第1次启动试运2h后,后轴瓦温度升高到93 ℃而烧损。经研瓦、调整瓦口间隙、复查膨胀间隙、轴承座侧板调整等措施处理后,不见效果。后经检查下轴瓦球面发现:球面两侧有接触磨痕,中间60°范围内无接触痕迹。证明下轴瓦瓦面接触不好。经涂色刮研处理后,消除了电动机后轴瓦的发热问题。
  电动机第1次试转,不长时间出现电动机前、后轴瓦发热振动现象。经过对轮找正、前轴承研瓦、电动机气隙调整、电动机转子弯曲度测量、更换前轴承座等措施处理后,不见效果。Z后认识到:前轴瓦两侧轴肩总的间隙是13mm,应属于支撑轴瓦(推力轴瓦间隙要小的多)。前轴瓦在转子膨胀方向侧的预留间隙是3mm,其间隙不满足电动机转子整体轴向窜动量的要求(说明书要求不小于5mm),经过配垫处理,将该间隙预留到了8mm。在进一步调整轴瓦与上端盖配合间隙后,消除了前、后轴瓦发热振动现象。
  电动机轴瓦发热消除后,引风机支撑轴承发热又显露出来。在机组试运时期,轴承室外壳温度有时高达90 ℃,靠频繁更换润滑油和从外部浇水冷却来维持引风机运行。Z后查出是轴承外圈与轴承上压盖预留膨胀间隙过小造成的。在将上压盖与轴承外圈配合间隙预留到0.13mm后,消除了发热现象。
  1.3轴承发热的原因分析
  从图1引风机整体布置看出:引风机转子和电动机转子整体膨胀应以支推轴承为中点,分别向电动机前轴瓦和风机支撑轴承方向膨胀。在检修转机轴承时,只有正确处理好轴承与轴承室在轴向和径向上的配合间隙,才能避免轴承发热现象。
  电动机带机械后正确的膨胀方向是向着前轴瓦方向的,电动机转子实际膨胀方向刚好相反。由于前轴瓦的轴肩间隙不能满足转子整体膨胀量的要求,出现了电动机不带机械轴瓦不发热,带上机械就发热的怪现象。根据电动机实际运行状况,前轴瓦膨胀间隙应该预留到6mm以上。
  引风机运行时转子轴向膨胀量为8~10mm,轴承外圈也要随之移动8~10mm。如果按照一般支撑轴承上压盖与轴承外圈配合间隙0.00~0.05mm的工艺要求组装轴承,就使上压盖与轴承外圈出现热态过盈配合并阻碍轴承外圈的自由滑动。根据以往检修经验:支推轴承上压盖与轴承外圈配合间隙保持在0.10~0.20mm时,才有可能避免轴承的发热,过大或过小的配合间隙都会引起不同程度的轴承发热现象。
  2 水冷壁3次爆管故障
  本炉水冷壁是由管径63.5×7.5mm、节距76.2mm的管子加焊扁钢而组成的膜式壁,水冷壁钢材牌号SA-210C。机组整体试运时期,同一根水冷壁发生了3次爆管事故。爆管原因是由于拉管器部件堵住了管子,造成管子内水循环停滞,引起该管沸腾传热恶化,使管壁超温而发生了过热爆管。
  水冷壁爆管过程如下:
  1997年11月17日22:00(锅炉主蒸汽参数:压力7MPa、温度499 ℃、流量346 t/h,机组负荷115MW)发现2号角前墙切角管屏在标高15m处爆管。爆口面朝炉膛,爆口为典型的“短期过热爆口”,其宏观特征:爆口张嘴较大,长180mm,宽31mm;爆口的断裂面粗糙不平整,边缘呈钝边;爆口外壁有明显的纵向裂纹并有一层较厚易剥落的氧化垢。当时考虑到煤粉还未投入、饱和压力不高、爆口处在燃烧区下方的低热负荷区且为弯头爆口等情况,在判断上出现失误,仅认为“管材质量存在一定问题”,而忽略了“短期过热爆口”这一重要特征。因此在处理时只对爆管作了更换处理而没有过多查找其它原因,致使同样故障在以后多次发生。
  3 煤粉管道伸缩节失灵故障
  本炉采用的煤粉管道伸缩节名称为“球型轴向补偿器”。它由入口万向头、出口万向头、伸缩子管和伸缩母管4部分组成。伸缩子管与伸缩母管套装配合,起轴向伸缩作用;两侧球形万向头能够自由转动,起改变煤粉管道膨胀方向的作用。在机组试运初期,因伸缩节不起作用,煤粉管道与喷燃器联接焊口拉裂,出现了煤粉外窜现象。煤粉管道伸缩节失灵原因为:
  3.1安装原因:安装时由于将伸缩节进出口方向装反,造成煤粉气流不仅直接冲刷伸缩子管管口,而且煤粉吹进到伸缩子、母管的缝隙内,塞满缝隙并阻碍伸缩子、母管之间的轴向伸缩,而出现伸缩节失灵现象。
  3.2质量原因:检查部分失灵伸缩节发现伸缩母管与入口万向头焊接在一起,伸缩节显然出现了质量问题。这样造成相互矛盾的两种情况:按伸缩子、母管配合要求安装,引起煤粉进入到万向头球面缝隙内,使出、入口万向头失去作用;按万向头的进出口顺序安装,伸缩节轴向伸缩不起作用。
  4 几点经验教训
  4.1临时工的安全教育:临时工安全观念淡薄,自我保护意识较差,在施工中,普遍存在着重效益、轻安全、重速度、轻质量的现象。
  4.2设备技术资料的短缺:近年来,设备生产厂家为了垄断市场和防假,已很少向用户提供必要的设备图纸和资料。当设备出现问题时,不仅增大了检修难度,而且用户也要蒙受一定的经济损失。在遇到产品质量问题生产厂家有意推卸责任时,更是用户受损。因此,为了维护电力行业自身的利益,极需要制定一个保护性的《法规》。
  4.3提高安装人员素质,在故障原因判别上尊重科学:由于在故障处理中不尊重事实,不尊重科学,致使相同故障连续发生。

来源:《中国电力》 1999年06期
服务热线:15618632192 / 15618783363
版权所有 © 上海堃旌轴承有限公司      ICP备:沪ICP备18003889号