压力机连杆轴瓦加工工艺改进
发布时间:2012-07-11 浏览次数:809
摘 要:以JB23-80开式双柱可倾压力机为例,分析了压力机连杆轴瓦加工过程中的问题和采取的工艺改进措施。
关键词:轴瓦;工艺;改进
近年来,我校校办工厂对多台压力机进行大修,该机连杆处所配的上、下轴瓦是大修过程中需要更换的关键部件,而其加工、装配的精度直接决定了压力机的大修质量。以JB23-80开式双柱可倾压力机为例,谈谈连杆处所配上、下轴瓦加工工艺的改进。
以往的大修过程中,上、下轴瓦的加工工艺为:备上、下轴瓦QSn6-6-3毛坯料→铣上、下轴瓦贴合面→在贴合面垫0.5mm铜箔,然后将上、下轴瓦钎焊为一体→粗、精车轴瓦至图纸要求,在φ135+0.0720mm处留0.15mm刮研量→上、下轴瓦脱焊后,装配刮研轴瓦与曲轴配合面至技术要求。
按上述工艺流程装配时有2个问题:①车削基准与装配基准不统一造成形位公差超差,影响装配。②刮研量不容易控制,给主修人员增添工作量。
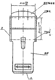
我们将工艺改进为:粗、精车后有φ135 mm处留1mm的余量,其它尺寸精车至图纸要求→将上、下轴瓦装入连杆、轴承孔内,如图1所示。镗削时以A、B面找正后镗内孔至φ135+0.0400mm→上、下轴瓦与曲轴等部件共同装配,轻微刮研即可满足工作表面十点/25mm×25mm的技术要求。

图1 JB23-80开式双柱可倾压力机连杆与轴瓦装配示意图
改进后的工艺,经多台压力机大修实践验证,降低了大修装配时的劳动强度,提高了工效,其效果很好。